登录 注册 退出

您的位置 : 首页 > 软件区 > 电脑软件 > 编程开发

Notepad3(开源文本编辑器)

Notepad3是一款Windows平台轻量级开源文本编辑器,基于Scintilla引擎、从Notepad2/Notepad2-mod迭代而来,Notepad3主打极速启动、编码友好、代码级编辑的等特点,是系统记事本的强力替代品。

类型: 编程开发

平台: PC

版本: v7.26.306.1

语言: 简体中文

更新: 2026-03-16

标签: Notepad3电脑版

Notepad3是一款Windows平台轻量级开源文本编辑器,基于Scintilla引擎、从Notepad2/Notepad2-mod迭代而来,Notepad3主打极速启动、编码友好、代码级编辑的等特点,是系统记事本的强力替代品。Notepad3支持多标签、多语言界面,内置80+种编程语言语法高亮,具备代码折叠、括号匹配、自动缩进、换行格式切换、AES-256加密、文件变更监控等功能,软件内存占用极低、启动极快,适合日常文本编辑、代码编写与配置文件处理!

Notepad3新手使用教程

Notepad3 作为 Windows 平台经典的开源文本编辑器,以轻量体积、强大功能成为日常编辑与编程的优选工具。它兼容多编码格式、支持语法高亮与正则替换,还提供绿色便携版本,既适合新手快速上手,也能满足专业用户的深度需求。本教程从基础操作到高级技巧,带你全面掌握其核心用法。

一、核心界面介绍

1、菜单栏:包含文件、编辑、查找、设置等核心功能入口,所有操作均可通过菜单或快捷键触发。

2、工具栏:提供新建、保存、格式转换等常用功能一键按钮,可通过 “视图 - 工具栏” 自定义显示。

3、编辑区:支持多标签页切换,可同时打开多个文件,标签页右键可快速关闭、重命名文档。

4、状态栏:显示当前文件编码、行数 / 列数、语言格式等关键信息,方便实时查看文档状态。

二、文本编辑必备技能

1、文件与编码管理

(1)基础操作:Ctrl+N 新建文档、Ctrl+O 打开文件、Ctrl+S 快速保存,支持 .txt、.html、.py 等多种格式。

(2)编码转换:遇到乱码时,点击 “文件 - 编码”,选择 ANSI、UTF-8、UTF-16 等格式切换,适配不同来源文件。

(3)换行符转换:通过 “格式 - 换行符”,切换 DOS(CR/LF)、Unix(LF)格式,满足跨平台编辑需求。

2、高效文本编辑

(1)基础选中:按住 Alt 键可进行列选择(垂直选中文本),适合批量修改表格类文本。

(2)自动辅助:输入时自动触发拼写检查(错误单词下方标红),Ctrl + 空格调出自动完成功能,支持单词与代码补全。

三、编程与批量处理技巧

1、编程辅助功能

(1)语法高亮:打开代码文件后,软件自动识别语言并高亮关键字,也可手动通过 “语言” 菜单选择对应编程语言(支持 C、Python、Markdown 等上百种)。

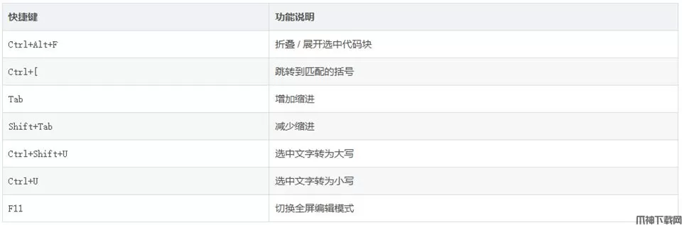
(2)代码折叠:Ctrl+Alt+F 可折叠 / 展开选中代码块,括号自动匹配(Ctrl+[ 快速跳转匹配括号),提升代码可读性。

(3)书签定位:点击行号左侧添加书签,通过 “编辑 - 书签” 快速跳转,方便定位长文档关键位置。

2、强大搜索与替换

(1)基础搜索:Ctrl+F 打开搜索框,支持 “查找下一个”(F3)、“查找上一个”(Shift+F3),选中单词后 Alt+F3 可高亮所有匹配项。

(2)正则替换:Ctrl+H 打开替换窗口,勾选 “正则表达式”,可实现复杂文本批量处理。例如:用 (\w+) 匹配英文单词,替换为 {\1} 即可给所有单词添加大括号。

(3)批量搜索:集成 grepWinNP3 工具(部分版本),支持跨文件批量搜索替换,处理多文档时效率更高。

Notepad3 高频快捷键速查表

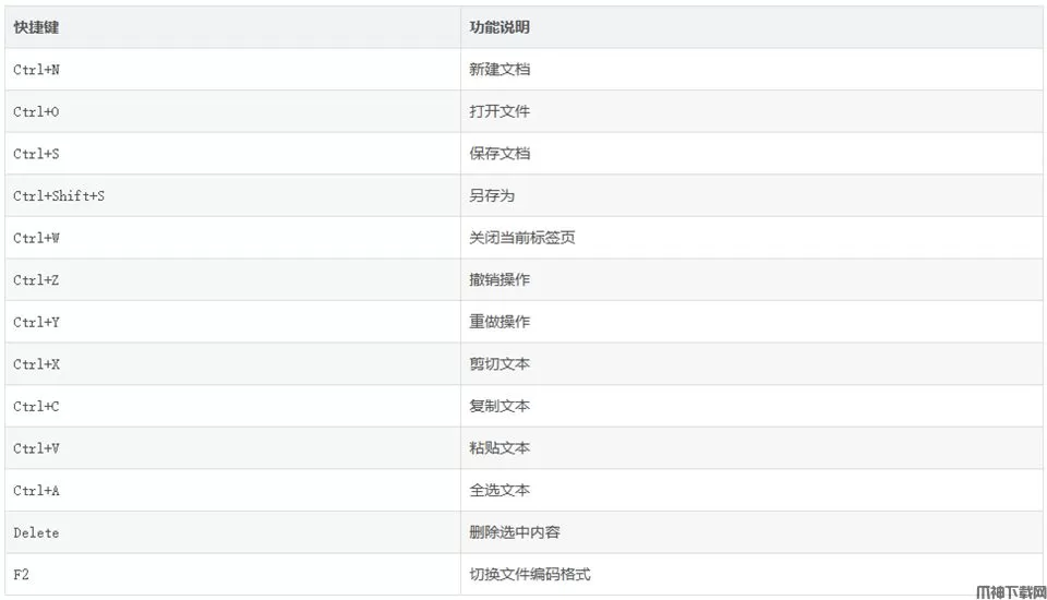
1、 基础文本编辑

2、多文档管理

3、代码编辑专用

4、搜索与替换

软件功能

1、支持多种编码格式,包括 ANSI、UTF-8、UTF-16 和 UTF-32 等。

2、支持多种语言环境,包括英语、中文等,用户可以根据需要进行切换。

3、支持自定义语法高亮,用户可以根据自己的需要添加或修改语法规则。

4、支持多个文档同时打开,用户可以轻松进行文本的复制和粘贴等操作。

5、支持拼写检查和自动完成功能,提高编辑效率。

6、支持自动保存功能,防止误操作导致的丢失文本。

7、支持搜索和替换功能,用户可以快速查找和替换文本内容。

展开

相关游戏

更多>>

相关文章

更多>>

大家都在玩

更多>>

本类推荐

更多>>

热门聚合

更多>>

关于本站 版权声明 下载帮助 网站地图

皖ICP备2026003478号-1 皖公网安备34112602000317号

Copyright © 2012-2026 爪神网版权所有